googleの画像検索でオークションに出たゴム*砲を見つけた。このおもちゃはすぐ売れてしまったのか、出品者が売れないのに業を煮やしてとりさげてしまったのか、元のオークションサイトでは見られない。
米国市販品はほとんど特許に基づいている。「こんなしょうもない物」と思っても、そのアイデアはちゃんと特許で守られていることが多い。
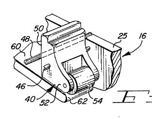
そこで写真をもとに、元の特許を探してみた。この写真および次の取説をみると。5つのリヤフックが前後方向に並んだ「前後方向連発」方式らしい。スコープが標準で付属している。(精密射撃用か)
そうすると1975年のアメリカの特許に5つのリヤフックが前後方向にならび、右側面にBOLTを持ったものがみつかった。前後方向連発の特許は多く、16件を数えるが、BOLTをもつものはこれしかない。スコープはないが、簡単な照準器がついている。 この特許の題はrepaeting self projecting band type apparatus (連発式自己飛翔式ゴム紐装置)である。
この連発銃は引き金32をひくとリヤフック群40-44の前屈を妨げているプレート62が引き金のストローク分だけ後退し、リヤフックの最前列のもの40が前屈して、1発発射するようになっている。
この連発銃は引き金32をひくとリヤフック群40-44の前屈を妨げているプレート62が引き金のストローク分だけ後退し、リヤフックの最前列のもの40が前屈して、1発発射するようになっている。引き金はわずかに回転運動をしたあと
後退するようになっている。それによって引き金とプレート62との接続が切れたりつながったりする。一種のラチェットの働きをする。ボルト(のレバー)は打ち終わると、引くのでなく、押す。押してプレート62を前に復帰させてから装填する。
後退するようになっている。それによって引き金とプレート62との接続が切れたりつながったりする。一種のラチェットの働きをする。ボルト(のレバー)は打ち終わると、引くのでなく、押す。押してプレート62を前に復帰させてから装填する。
このTOY GUNのボルト操作レバーは右につけるより
左に付ける方が便利と思うが、実銃ではふつう右にあるのかしら。
また5連発でなくとも6連発でもいいように思うが、律儀に特許書類のとおりにしている。以前に紹介した上下方向連発の市販品(第168項)が特許書類通りかたくなに(?)4連発をまもっており、ステップの傾斜も変更しなかったのと似ている。


0 件のコメント:
コメントを投稿